如有不适,请发表澄清说明
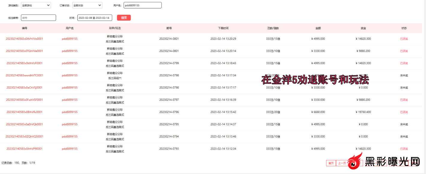
鉴于这两天有人说我本人及金洋黑钱,本不想做澄清,但此人已经在金洋盈利四五十万后,还在搬弄是非 颠倒黑白的做法实在让人恶心,今特在此澄清(让大家看看这个傻逼无耻的嘴脸)。此人为原先劝退账户。一开始此人为路远的直接下级,在金洋4盈利后平台给与劝退处理,但此人一而再的多次换号换卡来玩,证据资料以下提供 。劝退后2号此人又直接找到我助理开金洋5在玩,所以在金洋5(账号tcl395727)是我的直接下级,并且我也给他开了博希,(账号chenhao10086)但此人把我助理拉黑以及我的聊天记录删除了(但我们还能找到一些记录)
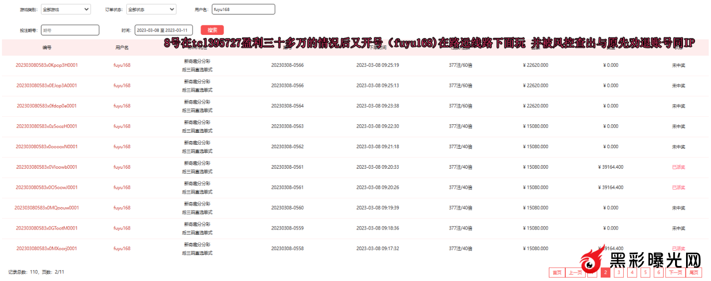
8号他在金洋5(账号tcl395727)盈利后又在路远的线路下开了另外的新账号玩(账号fuyu168),并且与之前劝退的账户同IP被风控查出来。一开始此人还不承认,说是第一次玩金洋(看路远对话截图) 可你明明之前就在金洋4和金洋5玩过,你这不是自相矛盾?
看他在安信的账户,在金洋4(账号chenhao123)和金洋5(账号tcl395727)以及 金洋5被冻结的账户(fuyu168),都是同一人,在金洋4五号的时候就玩过,这就是你所谓说的第一次玩金洋?足以说明此人真是谎话连篇。
这些资料(ip 玩法 以及账号名)足以说明此人在金洋系列已是劝退账户而且还有多个账号,(你是正常玩家开那么多号干啥呢?还说自己第一次玩?)并且懂得规避银行卡以及ip ,由此看来这人也并非正常玩家。一开始平台秉着信誉给你正常出款并劝退你,可你现在又多次换号过来玩,把平台风控当做傻子,但是你这智商还是有些欠缺,所以我劝你这傻逼回你妈肚里重造一下再来我这里秀智商,别出来丢人现眼。如果你还要证据那么可以在任何群里当众对质。























详情也可进入飞机频道 @boxi18 观看